Bereits vier Monate sind vergangen seit dem letzten Update zum neuen Universal-Freizeitpark Epic Universe. Und in dieser Zeit hat sich sowohl auf der Baustelle als auch in der Gerüchteküche viel getan. So haben wir vielleicht Indizien für eine zusätzliche Achterbahn, ein weiteres Hotel, und vielleicht sogar eine frühere Eröffnung des Nintendo-Bereichs.
Als Erinnerung: Die hier dokumentierten Entwicklungen, Möglichkeiten und Vermutung sind nicht aus offizieller Quelle, sondern von Experten und Fans erarbeitet.
Luftbilder und Baustellen-Updates
Die meisten der Luftaufnahmen sind, wenn nicht anders erwähnt, vom grossartigen @bioreconstruct auf Twitter. Folgt ihm, wenn euch diese Bilder gefallen. Ich halte die Beschreibungen hier relativ kurz, da es noch nicht sooo viel zu sehen gibt.
Hier habt ihr eine Luftaufnahme eines Teils von Universal’s Epic Universe. Der blaue Pfeil zeigt auf den Mittelstreifen der Zufahrtsstrasse zum Parkplatz für Tagesgäste. Der gelbe Pfeil zeigt ungefähr auf den Parkeingang. Der rote Pfeil markiert das Zentrum von Epic Universe. Der lilafarbene Pfeil zeigt an, wo sich die «Super Nintendo World» befinden wird, und der grüne Pfeil, wo das „Classic Universal Monsters“-Land entstehen soll.

«Super Nintendo World»-Baustelle
Luftaufnahme der aktuellen Fundamente im Bereich von Mario Cart und Yoshi’s Adventure:

Übersicht über den «Super Nintendo World»-Bereich in Universal’s Epic Universe. Oben rechts: Donkey Kong Coaster, Unten links: Yoshi’s Adventure, Oben Mitte: Mario Cart Attraktion.

Die Schienen und weitere Elemente scheinen bereits auf dem Gelände bereit zu liegen.
«Wizarding World»-Bereich-Baustelle
Der vermutete neue «The Wizarding World of Harry Potter»-Bereich hat auch die ersten Bauarbeiten. Hier sieht man vermutlich eine Luftaufnahme vom Bau des «Ministry of Magic»:

«Classic Monsters»-Baustelle
Während auf der Baustelle selbst noch nicht viel zu sehen ist, scheinen wir einige Materialtests zu sehen. Hier eine Luftaufnahme der Aussentests für Universal’s Epic Universe. Diese sind üblich beim Bau von Freizeitparks. Es sind Real-life-Mock-ups, um zu sehen, wie die Materialien bei verschiedenen Lichtverhältnissen aussehen und wie gut sie der Witterung standhalten. Sie dienen auch als Referenz für die künstlerischen Teams, die später die tatsächlichen Aussenanlagen gestalten.

Mehr Achterbahnen in Universal’s Epic Universe
Bereits das erste Konzeptbild, welches Universal veröffentlicht hatte, zeigte diverse Achterbahnen, die über den Park verteilt sind. Bisher sind die meisten von uns Fans von drei Achterbahnen ausgegangen, welche in verschiedenen Bereichen des Parks gebaut werden sollen:
Achterbahn 1: Hub Racing Coaster

Als erstes sticht auf dem Konzept natürlich die riesige Achterbahn rechts im Konzept auf. Die aufregendste Attraktion im Epic Universe wird voraussichtlich die zweigleisige Racing-Achterbahn in der Mitte des Parks sein. Diese Multi-Launch-Achterbahn wird über zwei Strecken verfügen, die den grössten Teil der Fahrzeit nebeneinander verlaufen.
Eine Simulation der möglichen Fahrt basierend auf dem Mockup und anderen öffentlich zugänglichen Informationen und Plänen ist in diesem Video zu sehen:
Die Achterbahn wird voraussichtlich von Mack Rides hergestellt werden. In einem Interview sprach Roland Mack kürzlich darüber, wie sie einen Auftrag von Universal wieder aufnehmen konnten, der einen «zweistelligen Millionenbetrag» umfasst. Man kann hier vermuten, dass es sich um eine ähnliche Fahrt wie mit der Blue Fire im Europa-Park handeln könnte.
Achterbahn 2: «How to Train your dragon» Family Coaster

Ein neues Land, das auf dem DreamWorks-Franchise «Drachenzähmen leicht gemacht» basiert, soll mit Epic Universe gebaut werden. Auf den Plänen ist eine Achterbahn zu sehen, die die obere Hälfte des Geländes umrundet und mehrere Aussenattraktionen auf der Insel Berk bietet.
Es wird vermutet, dass diese Achterbahn, die von den Bewohnern von Berk gebaut wurde, als Drachen-Trainingsachterbahn thematisiert. Es wird erwartet, dass es sich um eine familienfreundliche Stahlachterbahn handeln könnte und mit diversen aufwändigen Animatronics ausgestattet sein könnte.
Achterbahn 3: Donkey Kong Mine Cart

Von dieser Achterbahn wissen wir als einziger, dass sie definitiv kommen wird und im angekündigten «Super Nintendo World»-Bereich gebaut werden soll. Der Donkey Kong Country-Bereich soll als Phase zwei der Universal Studios Japan im Jahr 2024 eröffnet werden. Es wird erwartet, dass der Donkey Kong Country-Bereich der Super Nintendo World von Anfang an im Epic Universe eröffnet wird. Der Bereich wird voraussichtlich interaktive Spiele, Meet & Greets mit Charakteren, einen kleinen Geschenkeladen, einen Snackstand und die Donkey Kong Mine Cart Achterbahn beinhalten.
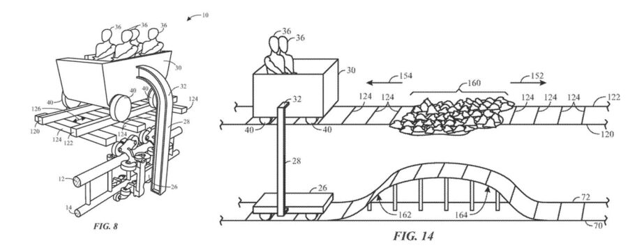
Der Entwurf sieht vor, dass die Fahrgäste in einem Fahrzeug in Form eines Minenwagens sitzen, der scheinbar auf einer normalen Schiene fährt, in Wirklichkeit aber auf einer seitlichen Schiene gleitet, die darunter verborgen ist. Diese Konstruktion würde es dem Minenwagen ermöglichen, über Lücken in der Schiene zu springen, genau wie in den Videospielen. Universal hat dafür ein Patent eingereicht, das hier perfekt zu passen scheint.

Achterbahn 4: Universal Monsters Coaster
Dies ist eine neue, vierte (!) Achterbahn, über die OrlandoParkstop.com berichtet hat. Im oben erwähnten Interview mit Roland Mack sprach er kürzlich darüber, dass Universal nicht nur die Produktion der grossen Achterbahn von Mack Rides wieder aufnehmen liess, sondern offenbar auch weitere Projekte. Dies deckt sich mit einem neuen Gerücht über diese Erweiterung des Universal Monsters Land.
Dem Gerücht zufolge wird das, was ursprünglich als Indoor-Theater-Attraktion für das Land geplant war, nun zu einer Mack-Spinning-Familienachterbahn. Während diese zweite Attraktion angeblich geändert wird, laufen die Pläne für die Hauptattraktion des Landes, einen grosse Dark Ride, weiterhin wie geplant.
Sollte es sich bei dieser mysteriösen neuen Attraktion tatsächlich um einen Mack-Spinning-Coaster (also eine Weiterentwicklung der bekannten Euro-Mir) handeln, überlegen einige, ob es sich um eine Indoor-Achterbahn wie Space Fantasy bei Universal Japan oder um eine Outdoor-Achterbahn wie Storm Chaser im Paultons Park handeln würde. Die Grundfläche jeder dieser Attraktionen könnte dort liegen, wo das Monsters Theater ursprünglich gebaut werden sollte. Um Platz zu sparen, könnte auch Lift wie beim Matterhorn-Blitz im Europa-Park zum Einsatz kommen.
Ein zweites Hotel am südlich des Parks
Der neue Freizeitpark wird voraussichtlich mit einem Hotel an der Rückseite des Parks eröffnet (vermutlich «Universal’s Helios Grand» genannt). Neue Genehmigungen scheinen nun zu bestätigen, dass mindestens ein zusätzliches Hotel für das südliche Gelände in Planung ist.
Dieses neue Hotel würde sich auf der anderen Strassenseite von Epic Universe befinden, direkt vor dem Haupteingang des neuen Freizeitparks. Dieses zusätzliche Hotel wird Gerüchten zufolge rund 750 Zimmer umfassen. Es wird sich an der Ecke des Universal Boulevard und der Sackgasse der demnächst verlängerten Kirkman Road befinden. Nach ihrer Fertigstellung Ende 2024 wird die verlängerte Kirkman Road die bestehenden Bereiche des Universal Orlando Resort mit dem neuen Epic Universe-Gebiet verbinden.
Mehr Gerüchte zu Epic Universe und Universal
Hier noch ein paar weitere, kurze Gerüchte, die in Fankreisen herumgeistern:
- Harry Potter-VR-Attraktion: Während wir vor ein paar Monaten noch vermuteten, dass die geplante Besen-Flug Potter-VR-Attraktion in die Universal Studios Florida verschoben wurden, gibt es hier ein Update: Die Attraktion ist vermutlich gestrichen. Gründe dafür gibt es keine konkreten, es wird jedoch vermutet, dass eine ähnliche Attraktion um Potter-Shop in New York der Auslöser gewesen sein konnte. Orlando Parkstop berichtete letzte Woche nun, dass wohl eine umso spannendere Attraktion mit einem neuartigen Fahrsystem und einer Geschichte im Zaubereiministerium für Epic Universe entwickelt wird.
- Neue (Halbtages-) Tickets und Preise: Universal befragt aktuell Besucher zum Thema Ticket-Typen und -Preise in Hinblick auf die Eröffnung von Epic Universe. Während die Preisspanne dabei noch viel zu breit ist, um hier konkreter zu werden, gab es eine mögliche neue Ticketart: Halbtages-Tickets, mit dem man z.B. nur am Nachmittag in den Park könnte.
- Super Nintendo World eröffnet früher: Ein Gerücht, das sich immer mehr ausbreitet, besagt, dass der Super-Nintendo-Bereich bereits vor der offiziellen Epic-Universe-Eröffnung im Sommer 2025 aufgehen könnte. Nicht nur die Baustelle in diesem Bereich wirkt weiter fortgeschritten als andere Teile, auch die Pläne sind (dank den identischen Bereich in Japan und bald auch Hollywood) bereits klarer. Das führt uns zu den Gerüchten, dass Super Nintendo World vielleicht schon vor dem Rest des Parks fertig sein könnte, und dazu, dass spezielle Gäste eine Vorschau auf das Land bekommen könnten. Dieses Gerücht wurde zum ersten Mal vor der Pandemie erwähnt. Jahreskarteninhaber, Hotelgäste von Universal Orlando oder andere besondere Besucher hatten die Möglichkeit, den neuen Bereich im Jahr vor der Eröffnung des Parks zu sehen.
Natürlich gibt es noch diverse Gerüchte, die zwar spektakulär klingen, aber so unrealistisch sind, dass ich sie hier nicht auflisten werde.
Ähnliche Artikel
- Neue Generation interaktiver Zauberstäbe für alle drei Wizarding Worlds of Harry Potter in Orlando
- Baustellen-Update von Universal Epic Universe: Neuer Name, neue Trademarks, und Luftaufnahmen (April 2023)
- Universal Epic Universe öffnet im Mai 2025: Alle Infos zu den Tickets
Parks in diesem Artikel
Universal Epic Universe: Ein brandneuer Themenpark mit fünf immersiven Welten, darunter Super Nintendo World, Harry Potter: Ministry of Magic, klassische Monster und viele weitere spektakuläre Attraktionen.
ℹ️ Alle Informationen zu Universal Epic Universe | 🎟️ Tickets fürs Universal Orlando Resort
Autor: Roger von OrlandoParks.de

Seit meinem ersten Besuch 1994 verbringe ich regelmässig Zeit in den Freizeitparks von Orlando und habe schon unzählige Tage im Walt Disney World, Universal Orlando & Co. verbracht. Durch persönliche Erfahrungen, offizielle Trainings und jede Menge Leidenschaft helfe ich euch hier auf OrlandoParks.de mit ehrlichen Tipps und aktuellen Infos für euren perfekten Parkurlaub.