Vor fast zweieinhalb Jahren wurde Universal’s Epic Universe offiziell angekündigt. Es ist das grösste Freizeitpark-Projekt in Orlando seit Island of Adventure 1999 seine Tore öffnete und damals neue Standards für Themenpark-Attraktionen und -Design gesetzt hat. Und Epic Universe soll genau das wiederholen: neue Meilensteine setzen. Doch dann kam Corona und alles wurde langsamer und verzögerte sich. Nun möchte ich euch aber endlich wieder ein Update zum neuen Universal Park geben, mit neuen Bildern von der gigantischen Baustelle, spannenden News rund um die Entwicklung der Bereiche, und ausnahmsweise auch eine kleine Übersicht über spannende Gerüchte.
Die Bauarbeiten and Epic Universe
Als die Arbeiten am Park dieses Jahr definitiv wieder Fahrt aufnahmen, wurden im Sommer hauptsächlich Baubewilligung für Backstage-Bereiche und vorübergehende Baustellen-Infrastruktur eingereicht und genehmigt. Dazu gehören auch Lagerhäuser, damit beispielsweise die bereits angelieferten Schienen für die vermutete «Yoshi’s Adventure»-Attraktion im angekündigten «Super Nintendo World»-Bereich und andere Artefakte besser gelagert werden können.
Schon bald ging es dann mit den weiteren Grundlagen des ganzen restlichen Parks los. So wurden Pläne für die Bewilligungen und anschliessend mit den Arbeiten an den Entwässerungsplänen des Parks eingereicht. Das klingt zwar nicht spektakulär, gibt aber bereits ein paar tolle Einblicke in den groben Plan des Parks, wie Alicia Stella hier schön ausgeführt hat. Grobe Umrisse und auch die Verortung verschiedenen wichtigen Bereichen sind so langsam erkennbar, z.B. den zentralen Hub mit den Wasserelementen.
Letzte Woche wurde aber klar, wie viel Gas Universal gerade wirklich gibt: Auf dem ganzen Park-Areal finden Aushub-Arbeiten statt. Das ist der erste Schritt wirklich sichtbare auf einer Baustelle, bevor etwas gebaut werden kann: Nachdem das Land geebnet wurde wird gegraben, als Basis und für das Fundament für alles, was darauf gebaut werden soll.
Die folgenden Bilder sind am 19. Dezember 2021 entstanden und wurden uns von @bioreconstruct freundlicherweise zur Verfügung gestellt – Danke dafür! Einfach anklicken zum Vergrössern.
Luftaufnahme von Universal’s Epic Universe. In der Mitte des Bildes sind grosse Aushubarbeiten zu sehen, auf denen der eigentliche Themenpark entstehen wird. Der hohe Pfosten im Zentrum wird etwa die Mitte des Parks sein. Die Kirkman Road wird am unteren Bildrand weitergeführt werden. Rechts ist ein Strassenverlauf zu sehen, das zu den Parkplätzen führen wird. Aufnahme wurde etwa hier gemacht.
Luftaufnahmen der Aushubarbeiten und des entstehenden Geländes auf dem Gelände von Universals Epic Universe. Oben in der Mitte scheint ein Themenpark zu sein, mit bereits vorhandenen Zufahrtsstrassen für den Backstage-Bereich. Die Runde Fläche wird wahrscheinlich der oberste der drei Wasserelementen mit grossem Springbrunnen sein (siehe die Speculation-Map unten).
Luftaufnahme der Aushubarbeiten und der Landgestaltung für das Land, von dem wir annehmen, dass es den „How to Train Your Dragon“-Bereich sein wird. Diese massive Erdformation wird Teil der Achterbahn des Landes werden und gleichzeitig dazu beitragen, die Sicht auf den Parkplatz und andere Bereiche von Orlando aus dem Inneren des Themenparks zu versperren.
Blick aus der Luft auf das gesamte Gelände von Universal’s Epic Universe. Der untere Pfeil ist ein Straßenverlauf, der den Parkplatz (rechter Pfeil) mit der Kirkman Rd. verbindet. Der obere linke Pfeil zeigt das Zentrum des Themenparks. Der Pfeil oben rechts ist die Kühlwasseranlage (siehe nächstes Bild).

Luftaufnahme der ersten beiden Gebäude von Universal’s Epic Universe. Die Kaltwasseranlage im Vordergrund ist eine zentrale Klimaanlage für den Themenpark. Dahinter wird ein weiteres Lagerhaus errichtet.
Wir können davon ausgehen, dass schon in wenigen Monaten nach oben gebaut wird, also mindestens die Konstruktion kommender Attraktionen sichtbar vorbereitet werden.
Neuigkeiten und Antworten zu Epic Universe
Gleich das wichtigste zuerst: Es gibt von Universal selbst keine offiziellen News zum kommenden neuen Freizeitpark in Orlando. Hier aber ein paar häufig gestellte Fragen, die man mit hoher Sicherheit trotzdem beantworten kann.
Wird Universal’s Epic Universe noch gebaut?
Ja, der neuste der Freizeitparks von Universal in Orlando wird weiterhin gebaut. Es gab Gerüchte, dass das Projekt auf eisgelegt wurde. Dies wurde aber klar widerlegt, wie auch die Fotos der Bauarbeiten oben klar beweisen.
Wann wird Universal’s Epic Universe eröffnet werden?
Das Eröffnungsdatum von Universal’s Epic Universe ist bisher nicht bekannt. Die Corona-Pandemie hat den Fortschritt zwar gebremst, viele Experten vermuten aber ein mögliches Öffnungsdatum im Jahr 2024 oder 2025.
Welche Bereiche wird Universal’s Epic Universe haben?
Der einzige bestätigte Bereich ist das «Super Nintendo World». Es gibt zwar unzählige Gerüchte für weitere Bereiche (siehe unten), offiziell bestätigt ist aber keines davon. Dass auch im dritten Freizeitpark von Universal in Orlando ein Harry-Potter-Bereich gebaut werden könnte, ist jedoch sehr naheliegend.
Wird es ein Harry-Potter-Hotel geben?
Disney macht mit dem «Star Wars: Galactic Starcruiser»-Hotel einen grossen Schritt im Bereich thematisierte Hotels. Wird Universal hier also mit einem Harry-Potter-Hotel nachziehen? Dafür gibt es bisher wenig stichhaltige Beweise. Aktuell sieht es also nicht so aus, als ob Harry-Potter-Fans bald in einem Gryffindor-Zimmer oder ähnlichem übernachten könnten, bevor sie in die Harry-Potter-Bereiche gehen.
Gerüchte zu Universal’s Epic Universe
Ich teile hier auf der Seite nur sehr selten Gerüchte, da diese oft falsche Hoffnungen wecken. Einzig in der geschlossenen Facebook-Gruppe hier gibt es hin und wieder Gerüchte-Updates – einfach beitreten, um dabei zu sein.
Achtung: Alles unter diesem Hinweis hier sind lediglich Gerüchte und sollten auch als solche behandelt werden. Teilt sie nur mit Personen, die das verstehen 😉
Wenn wir alle Gerüchte zusammen auf eine Karte bringen, würde diese etwa so aussehen:

Vielen Dank an Alicia Stella, die diese Speculation Map (als Karte mit Vermutungen) zusammengestellt und uns freundlicherweise zur Verfügung gestellt hat.
Glaubt man den neusten Gerüchten wird Universal’s Epic Universe die folgenden Bereiche haben:
- Super Nintendo World
- Universal (Classic) Monsters (also Monster aus klassischen Universa-Filmen wir Frankenstein, Dracula, etc.)
- Wizarding World of Harry Potter (ein dritter Potter-Bereich in Florida)
- How to Train Cour Dragon (aka Drachenzähmen leicht gemacht)
Während diverse Attraktionen für den «Super Nintendo World»-Bereich bereits bekannt sind, da sie auch im Universal-Park in Japan stehen, ist bei den anderen Bereichen nichts wirklich klar bekannt. Hier deshalb ein paar Vermutungen, welche Alicia zusammengetragen und auf ihrer Webseite ausgeführt hat.
Donkey Kong Achterbahn?

Für Universals Parks in Japan wurde bereits die erste Erweiterung offiziell angekündigt: Ein «Donkey Kong» Mini-Bereich mit einer neuartigen Achterbahn. Laut Gerüchten wird der «Minenwagen» dabei mittels eines Balkens über den eigentlichen Schienen angebracht durch eine actiongeladene Szenerie sausen.
Monsters-Attraktion mit KUKA-Technologie

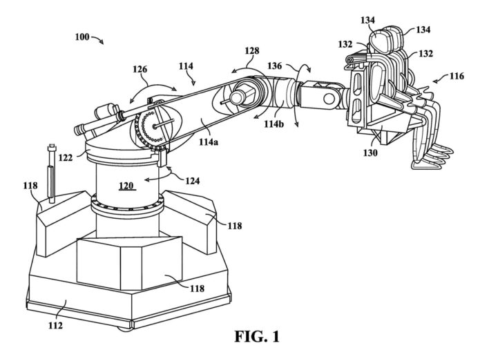
Bildquelle: U.S. Patent and Trademark Office
Baupläne und Genehmigungen für den Bereich, der vermutlich auf Universal Monsters basieren wird, scheinen ein grosses Attraktionsgebäude zu zeigen. Darin soll sich ein Dark Ride befinden, der ähnlich wie Harry Potter and the Forbidden Journey mit einem KUKA-Arm-Ride-System ausgestattet ist. Gerüchten zufolge soll die Attraktion in Dr. Frankensteins Labor am Rande des Dorfes stattfinden und alle klassischen Monster von Universal zeigen.
Ein neues Patent, das von Universal eingereicht wurde, scheint eine modifizierte Version des KUKA-Arm-Ride-System zu zeigen. Es gibt gute Gründe für die Vermutung, dass es sich dabei um die Epic Universe’s Monsters-Attraktion handeln könnte. Die Gerüchte deuten darauf, dass sich diese neue Attraktion in vielerlei Hinsicht von der Potter-Attraktion unterscheiden wird, auch wenn sie vermutlich ein ähnliches Fahrsystem verwenden wird. Zum Beispiel soll die Monsters-Attraktion wenig bis gar keine Film-Projektionen haben.
Details findet ihr wie immer bei Alicia auf dem Blog und in ihrem Video.
Die mögliche Strecke des Dual Track Racing Coasters?
Der kommende Themenpark von Universal Orlando soll mit einer Duell-Achterbahn eröffnet werden, die Gerüchten zufolge ein Weltraumthema haben soll. Dieses Planet Coaster-Video basiert auf Informationen über die mögliche Streckenführung. Tommy Hawkins hat an diesem First-Person-View-Video der möglichen Achterbahn gearbeitet.
Ein griechischer Hub?
Aufgrund mehrerer eingereichter Trademarks wird vermutet, dass das neue zentrale Hotel «Universal’s Helios Grand» heissen wird, und auch andere Hub-Bereiche nach griechischen Themen, Mythen, oder Gottheiten gestaltet werden können.
Nicht im Epic Universe: Potter-VR-Attraktion?
Im Potter-Bereich wurde zudem lange eine VR-Attraktion auf fliegenden Besen vermutet. Laut aktuellen Stimmen kommt diese Attraktion jedoch nicht ins Epic Universe… sondern in die Universal Studios Florida, an die Stelle an der bisher die Fear-Factor-Live-Show war! Hoffen wir hier also auf ein weiteres Potter-Update bereits früher in einem bestehenden Park.
Ähnliche Artikel
- Universal Epic Universe öffnet im Mai 2025: Alle Infos zu den Tickets
- Neue Generation interaktiver Zauberstäbe für alle drei Wizarding Worlds of Harry Potter in Orlando
- Universal Orlando erhöht Ticketpreise für 2026 – Das sind die Änderungen
Parks in diesem Artikel
Universal Epic Universe: Ein brandneuer Themenpark mit fünf immersiven Welten, darunter Super Nintendo World, Harry Potter: Ministry of Magic, klassische Monster und viele weitere spektakuläre Attraktionen.
ℹ️ Alle Informationen zu Universal Epic Universe | 🎟️ Tickets fürs Universal Orlando Resort
Autor: Roger von OrlandoParks.de

Seit meinem ersten Besuch 1994 verbringe ich regelmässig Zeit in den Freizeitparks von Orlando und habe schon unzählige Tage im Walt Disney World, Universal Orlando & Co. verbracht. Durch persönliche Erfahrungen, offizielle Trainings und jede Menge Leidenschaft helfe ich euch hier auf OrlandoParks.de mit ehrlichen Tipps und aktuellen Infos für euren perfekten Parkurlaub.



